ГОРИЗОНТАЛЬНЫЕ И ВЕРТИКАЛЬНЫЕ РЕДУКТОРЫ (РОССИЙСКАЯ МЕТОДИКА)

Выбор любого редуктора осуществляется в три этапа:

1.       Выбор типа редуктора

2.       Выбор габарита (типоразмера) редуктора и его характеристик.

3.       Проверочные расчеты 

1. Выбор типа редуктора

1.1 Исходные данные:

Кинематическая схема привода с указанием всех механизмов подсоединяемых к редуктору, их пространственного расположения относительно друг друга с указанием мест крепления и способов монтажа редуктора.

1.2 Определение расположения осей валов редуктора в пространстве.

Цилиндрические редукторы:

Ось входного и выходного вала редуктора параллельны друг другу и лежат только в одной горизонтальной плоскости – горизонтальный цилиндрический редуктор.

Ось входного и выходного вала редуктора параллельны друг другу и лежат только в одной вертикальной плоскости – вертикальный цилиндрический редуктор.

Ось входного и выходного вала редуктора может находиться в любом пространственном положении при этом эти оси лежат на одной прямой (совпадают) – соосный цилиндрический или планетарный редуктор.

Коническо-цилиндрические редукторы:

Ось входного и выходного вала редуктора перпендикулярны друг другу и лежат только в одной горизонтальной плоскости.

Червячные редукторы:

Ось входного и выходного вала редуктора может находиться в любом пространственном положении, при этом они скрещиваются под углом 90 градусов друг другу и не лежат в одной плоскости – одноступенчатый червячный редуктор.

Ось входного и выходного вала редуктора может находиться в любом пространственном положении, при этом они параллельны друг другу и не лежат в одной плоскости, либо они скрещиваются под углом 90 градусов друг другу и не лежат в одной плоскости – двухступенчатый редуктор.

1.3 Определение способа крепления, монтажного положения и варианта сборки редуктора.

Способ крепления редуктора и монтажное положение (крепление на фундамент или на ведомый вал приводного механизма) определяют по приведенным в каталоге техническим характеристикам для каждого редуктора индивидуально.

Вариант сборки определяют по приведенным в каталоге схемам. Схемы «Вариантов сборки» приведены в разделе «Обозначение редукторов».

1.4 Дополнительно при выборе типа редуктора могут учитываться следующие факторы

      1) Уровень шума

  • наиболее низкий - у червячных редукторов
  • наиболее высокий - у цилиндрических и конических редукторов

      2) Коэффициент полезного действия

  • наиболее высокий - у планетарных и одноступенчатых цилиндрических редукторах
  • наиболее низкий - у червячных, особенно двухступенчатых

Червячные редукторы предпочтительно использовать в повторно-кратковременных режимах эксплуатации

      3) Материалоемкость для одних и тех же значений крутящего момента на тихоходном валу

  • наиболее высокая - у конических
  • наиболее низкая - у планетарных одноступенчатых

      4) Габариты при одинаковых передаточных числах и крутящих моментах:

  • наибольшие осевые - у соосных и планетарных
  • наибольшие в направлении перпендикулярном осям – у цилиндрических
  • наименьшие радиальные – к планетарных.

      5) Относительная стоимость руб/(Нм) для одинаковых межосевых расстояний:

  • наиболее высокая - у конических
  • наиболее низкая – у планетарных

2. Выбор габарита (типоразмера) редуктора и его характеристик

2.1. Исходные данные

Кинематическая схема привода, содержащая следующие данные:

  • вид приводной машины (двигателя);
  • требуемый крутящий момент на выходном валу Ттреб, Нхм, либо мощность двигательной установки Ртреб, кВт;
  • частота вращения входного вала редуктора nвх, об/мин;
  • частота вращения выходного вала редуктора nвых, об/мин;
  • характер нагрузки (равномерная или неравномерная, реверсивная или нереверсивная,  наличие и величина перегрузок, наличие толчков, ударов, вибраций);
  • требуемая длительность эксплуатации редуктора в часах;
  • средняя ежесуточная работа в часах;
  • количество включений в час;
  • продолжительность включений с нагрузкой, ПВ %;
  • условия окружающей среды (температура, условия отвода тепла);
  • продолжительность включений под нагрузкой;
  • радиальная консольная нагрузка, приложенная в середине посадочной части концов выходного вала F вых и входного вала F вх;

2.2. При выборе габарита редуктора производиться расчет следующих параметров:

      2.2.1. Передаточное число

U= nвх/nвых ,       (1)

Наиболее экономичной является эксплуатация редуктора при частоте вращения на входе менее 1500 об/мин, а с целью более длительной безотказной работы редуктора рекомендуется применять частоту вращения входного вала менее 900 об/мин.

Передаточное число округляют в нужную сторону до ближайшего числа согласно таблицы 1.

По таблице отбираются типы редукторов удовлетворяющих заданному передаточному числу.

      2.2.2. Расчетный крутящий момент на выходном валу редуктора

Трасч =Ттреб х Креж ,   (2)

            где

            Ттреб - требуемый крутящий момент на выходном валу, Нхм (исходные данные, либо формула 3)

            Креж – коэффициент режима работы

            При известной мощности двигательной установки:

Ттреб= (Ртреб х U х 9550 х КПД)/ nвх , (3)

            где

            Ртреб - мощность двигательной установки, кВт

            nвх - частота вращения входного вала редуктора (при условии что вал двигательной установки    напрямую без дополнительной передачи передает вращение на входной вал редуктора), об/мин

            U – передаточное число редуктора, формула 1

            КПД - коэффициент полезного действия редуктора

            Коэффициент режима работы определяется как произведение коэффициентов:

            Для зубчатых редукторов:

Креж=К1 х К2 х К3 х КПВ х Крев  ,   (4)

            Для червячных редукторов:

Креж=К1 х К2 х К3 х КПВ х Крев х Кч ,    (5)

            где

            К1 – коэффициент типа и характеристик двигательной установки, таблица 2

            К2 – коэффициент продолжительности работы таблица 3

            К3 – коэффициент количества пусков таблица 4

            КПВ – коэффициент продолжительности включений таблица 5

            Крев – коэффициент реверсивности , при нереверсивной работе Крев=1,0 при реверсивной работе Крев=0,75

            Кч – коэффициент, учитывающий расположение червячной пары в пространстве. При расположении червяка под колесом Кч = 1,0, при расположении над колесом Кч = 1,2. При расположении червяка сбоку колеса Кч = 1,1. 

      2.2.3. Расчетная радиальная консольная нагрузка на выходном валу редуктора

Fвых.расч = Fвых х Креж ,     (6)

            где

            F вых - радиальная консольная нагрузка, приложенная в середине посадочной части концов выходного вала (исходные данные), Н

            Креж - коэффициент режима работы (формула 4,5)

3. Параметры выбираемого редуктора должны удовлетворять следующим условиям:

     1)   Тном  > Трасч,      (7)

            где

            Тном – номинальный крутящий момент на выходном валу редуктора, приводимый в данном каталоге в технических характеристиках для каждого редуктора, Нхм

            Трасч - расчетный крутящий момент на выходном валу редуктора (формула 2), Нхм

     2)     Fном  > Fвых.расч  ,         (8)

            где

            Fном – номинальная консольная нагрузка в середине посадочной части концов выходного вала редуктора, приводимая в технических характеристиках для каждого редуктора, Н.

            Fвых.расч  - расчетная радиальная консольная нагрузка на выходном валу редуктора (формула 6), Н.

      3)     Р вх.расч < Р терм х Кт , (9)

            где

            Р вх.расч – расчетная мощность электродвигателя (формула 10), кВт

            Р терм – термическая мощность, значение которой приводится в технических характеристиках редуктора, кВт

            Кт - температурный коэффициент, значения которого приведены в таблице 6

 Расчетная мощность электродвигателя определяется:

            Р вх.расч=( Твых х nвх)/(9550 х U),         (10)

            где

            Твых - расчетный крутящий момент на выходном валу редуктора (формула 2), Нхм

            nвых - частота вращения входного вала редуктора, об/мин

            U – передаточное число редуктора

       А) Для цилиндрических редукторов:

  • одноступенчатых - 0,99
  • двухступенчатых - 0,98
  • трехступенчатых - 0,97
  • четырехступенчатых - 0,95

       Б) Для конических редукторов:

  • одноступенчатых - 0,98
  • двухступенчатых - 0,97

       В) Для коническо-цилиндрических редукторов – как произведение значений конической и цилиндрической частей редуктора.

       Г) Для червячных редукторов КПД приводиться в технических характеристиках для каждого редуктора для каждого передаточного числа. 

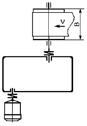
ПРИМЕР ВЫБОРА РЕДУКТОРА

Кинематическая схема

 

схемаТранспортер для сыпучих материалов

Требуемый крутящий момент на выходном валу Ттреб, = 1800 Нхм

Асинхронный электродвигатель nвх, =1500 об/мин

Обороты на выходном валу редуктора nвых = 40 об/мин

Работа непрерывная, нереверсивная, толчки средней силы

Радиальная консольная нагрузка, приложенная в середине посадочной части концов выходного вала F вых = 5000 Н

Средняя ежесуточная работа 7 часов

Количество включений в час до 10

Продолжительность включений с нагрузкой, ПВ 100 %

Условия окружающей среды: температура до 30oС, условия отвода тепла – естественное охлаждение воздухом окружающей среды

Выбор типа редуктора

Исходя из расположения осей входного и выходного вала в пространстве, выбираем цилиндрический горизонтальный редуктор. Крепление редуктора на фундамент. Вариант сборки редуктора 12.

Выбор габарита редуктора

1) Передаточное число редуктора (формула 1)

                U = 1500/40= 37,5

По таблице 1 выбираем передаточное отношение редуктора 40. Это передаточное отношение имеют редукторы 1Ц2У, РМ, РЦД, Ц2, 1Ц3У, Ц3У…(Н), Ц3Н

2) Определим коэффициент режима работы (формула 4)

 Креж= 1,0 х 1,0 х 1,2 х 1,0 х 1,0 = 1,2

3) Расчетный крутящий момент на выходном валу редуктора (формула 2)

 Трасч = 1800 х 1,2 = 2160 Нхм

4) Расчетная радиальная консольная нагрузка (формула 6)

Fвых.расч = 5000 х 1,2 = 6000 Н

5) Исходя из соблюдения условия формулы 7,8, наиболее эффективно использование в данном приводе  редуктора 1Ц2У-200-40-12 со следующими характеристиками: Тном = 2500 Нхм; Fном = 12500 Н.