Горизонтальные коническо-цилиндричесие редукторы предназначены для применения в приводах различных машин и механизмах для изменения крутящих моментов и частоты вращения.
Редукторы рассчитаны для работы в следующих условиях:
- работа длительная до 24 ч. в сутки или с периодическими остановками;
- работа в непрерывном и повторно-кратковременном режимах, нагрузка одного направления и реверсивная;
- вращение валов в любую сторону;
- частота вращения входного вала не превышает 1800 об/мин;
- климатические исполнения У1, У2, У3, УХЛ4, Т1, Т2, Т3 и О4 по ГОСТ 15150-69;
- атмосфера типов I и II по ГОСТ 15150-69 при запыленности воздуха не более 10 мг/м3.
Выбор любого редуктора осуществляется в три этапа:
1. Выбор типа редуктора
2. Выбор габарита (типоразмера) редуктора и его характеристик.
3. Проверочные расчеты
1. Выбор типа редуктора
1.1 Исходные данные:
Кинематическая схема привода с указанием всех механизмов подсоединяемых к редуктору, их пространственного расположения относительно друг друга с указанием мест крепления и способов монтажа редуктора.
1.2 Определение расположения осей валов редуктора в пространстве.
Цилиндрические редукторы:
Ось входного и выходного вала редуктора параллельны друг другу и лежат только в одной горизонтальной плоскости – горизонтальный цилиндрический редуктор.
Ось входного и выходного вала редуктора параллельны друг другу и лежат только в одной вертикальной плоскости – вертикальный цилиндрический редуктор.
Ось входного и выходного вала редуктора может находиться в любом пространственном положении при этом эти оси лежат на одной прямой (совпадают) – соосный цилиндрический или планетарный редуктор.
Коническо-цилиндрические редукторы:
Ось входного и выходного вала редуктора перпендикулярны друг другу и лежат только в одной горизонтальной плоскости.
Червячные редукторы:
Ось входного и выходного вала редуктора может находиться в любом пространственном положении, при этом они скрещиваются под углом 90 градусов друг другу и не лежат в одной плоскости – одноступенчатый червячный редуктор.
Ось входного и выходного вала редуктора может находиться в любом пространственном положении, при этом они параллельны друг другу и не лежат в одной плоскости, либо они скрещиваются под углом 90 градусов друг другу и не лежат в одной плоскости – двухступенчатый редуктор.
1.3 Определение способа крепления, монтажного положения и варианта сборки редуктора.
Способ крепления редуктора и монтажное положение (крепление на фундамент или на ведомый вал приводного механизма) определяют по приведенным в каталоге техническим характеристикам для каждого редуктора индивидуально.
Вариант сборки определяют по приведенным в каталоге схемам. Схемы «Вариантов сборки» приведены в разделе «Обозначение редукторов».
1.4 Дополнительно при выборе типа редуктора могут учитываться следующие факторы
1) Уровень шума
— наиболее низкий - у червячных редукторов
— наиболее высокий - у цилиндрических и конических редукторов
2) Коэффициент полезного действия
— наиболее высокий - у планетарных и одноступенчатых цилиндрических редукторах
— наиболее низкий - у червячных, особенно двухступенчатых
Червячные редукторы предпочтительно использовать в повторно-кратковременных режимах эксплуатации
3) Материалоемкость для одних и тех же значений крутящего момента на тихоходном валу
— наиболее высокая - у конических
— наиболее низкая - у планетарных одноступенчатых
4) Габариты при одинаковых передаточных числах и крутящих моментах:
— наибольшие осевые - у соосных и планетарных
— наибольшие в направлении перпендикулярном осям – у цилиндрических
— наименьшие радиальные – к планетарных.
5) Относительная стоимость руб/(Нм) для одинаковых межосевых расстояний:
— наиболее высокая - у конических
— наиболее низкая – у планетарных
2. Выбор габарита (типоразмера) редуктора и его характеристик
2.1. Исходные данные
Кинематическая схема привода, содержащая следующие данные:
— вид приводной машины (двигателя);
— требуемый крутящий момент на выходном валу Ттреб, Нхм, либо мощность двигательной установки Ртреб, кВт;
— частота вращения входного вала редуктора nвх, об/мин;
— частота вращения выходного вала редуктора nвых, об/мин;
— характер нагрузки (равномерная или неравномерная, реверсивная или нереверсивная, наличие и величина перегрузок, наличие толчков, ударов, вибраций);
— требуемая длительность эксплуатации редуктора в часах;
— средняя ежесуточная работа в часах;
— количество включений в час;
— продолжительность включений с нагрузкой, ПВ %;
— условия окружающей среды (температура, условия отвода тепла);
— продолжительность включений под нагрузкой;
— радиальная консольная нагрузка, приложенная в середине посадочной части концов выходного вала F вых и входного вала F вх;
2.2. При выборе габарита редуктора производиться расчет следующих параметров:
2.2.1. Передаточное число
U= nвх/nвых , (1)
Наиболее экономичной является эксплуатация редуктора при частоте вращения на входе менее 1500 об/мин, а с целью более длительной безотказной работы редуктора рекомендуется применять частоту вращения входного вала менее 900 об/мин.
Передаточное число округляют в нужную сторону до ближайшего числа согласно таблицы 1.
По таблице отбираются типы редукторов удовлетворяющих заданному передаточному числу.
2.2.2. Расчетный крутящий момент на выходном валу редуктора
Трасч =Ттреб х Креж , (2)
где
Ттреб - требуемый крутящий момент на выходном валу, Нхм (исходные данные, либо формула 3)
Креж – коэффициент режима работы
При известной мощности двигательной установки:
Ттреб= (Ртреб х U х 9550 х КПД)/ nвх , (3)
где
Ртреб - мощность двигательной установки, кВт
nвх - частота вращения входного вала редуктора (при условии что вал двигательной установки напрямую без дополнительной передачи передает вращение на входной вал редуктора), об/мин
U – передаточное число редуктора, формула 1
КПД - коэффициент полезного действия редуктора
Коэффициент режима работы определяется как произведение коэффициентов:
Для зубчатых редукторов:
Креж=К1 х К2 х К3 х КПВ х Крев , (4)
Для червячных редукторов:
Креж=К1 х К2 х К3 х КПВ х Крев х Кч , (5)
где
К1 – коэффициент типа и характеристик двигательной установки, таблица 2
К2 – коэффициент продолжительности работы таблица 3
К3 – коэффициент количества пусков таблица 4
КПВ – коэффициент продолжительности включений таблица 5
Крев – коэффициент реверсивности , при нереверсивной работе Крев=1,0 при реверсивной работе Крев=0,75
Кч – коэффициент, учитывающий расположение червячной пары в пространстве. При расположении червяка под колесом Кч = 1,0, при расположении над колесом Кч = 1,2. При расположении червяка сбоку колеса Кч = 1,1.
2.2.3. Расчетная радиальная консольная нагрузка на выходном валу редуктора
Fвых.расч = Fвых х Креж , (6)
где
F вых - радиальная консольная нагрузка, приложенная в середине посадочной части концов выходного вала (исходные данные), Н
Креж - коэффициент режима работы (формула 4,5)
3. Параметры выбираемого редуктора должны удовлетворять следующим условиям:
1) Тном > Трасч, (7)
где
Тном – номинальный крутящий момент на выходном валу редуктора, приводимый в данном каталоге в технических характеристиках для каждого редуктора, Нхм
Трасч - расчетный крутящий момент на выходном валу редуктора (формула 2), Нхм
2) Fном > Fвых.расч , (8)
где
Fном – номинальная консольная нагрузка в середине посадочной части концов выходного вала редуктора, приводимая в технических характеристиках для каждого редуктора, Н.
Fвых.расч - расчетная радиальная консольная нагрузка на выходном валу редуктора (формула 6), Н.
3) Р вх.расч < Р терм х Кт , (9)
где
Р вх.расч – расчетная мощность электродвигателя (формула 10), кВт
Р терм – термическая мощность, значение которой приводится в технических характеристиках редуктора, кВт
Кт - температурный коэффициент, значения которого приведены в таблице 6
Расчетная мощность электродвигателя определяется:
Р вх.расч=( Твых х nвх)/(9550 х U), (10)
где
Твых - расчетный крутящий момент на выходном валу редуктора (формула 2), Нхм
nвых - частота вращения входного вала редуктора, об/мин
U – передаточное число редуктора
А) Для цилиндрических редукторов:
— одноступенчатых - 0,99
— двухступенчатых - 0,98
— трехступенчатых - 0,97
— четырехступенчатых - 0,95
Б) Для конических редукторов:
— одноступенчатых - 0,98
— двухступенчатых - 0,97
В) Для коническо-цилиндрических редукторов – как произведение значений конической и цилиндрической частей редуктора.
Г) Для червячных редукторов КПД приводиться в технических характеристиках для каждого редуктора для каждого передаточного числа.
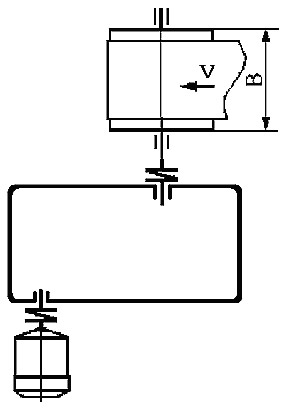
ПРИМЕР ВЫБОРА РЕДУКТОРА
Кинематическая схема
Транспортер для сыпучих материалов
Требуемый крутящий момент на выходном валу Ттреб, = 1800 Нхм
Асинхронный электродвигатель nвх, =1500 об/мин
Обороты на выходном валу редуктора nвых = 40 об/мин
Работа непрерывная, нереверсивная, толчки средней силы
Радиальная консольная нагрузка, приложенная в середине посадочной части концов выходного вала F вых = 5000 Н
Средняя ежесуточная работа 7 часов
Количество включений в час до 10
Продолжительность включений с нагрузкой, ПВ 100 %
Условия окружающей среды: температура до 30oС, условия отвода тепла – естественное охлаждение воздухом окружающей среды
Выбор типа редуктора
Исходя из расположения осей входного и выходного вала в пространстве, выбираем цилиндрический горизонтальный редуктор. Крепление редуктора на фундамент. Вариант сборки редуктора 12.
Выбор габарита редуктора
1) Передаточное число редуктора (формула 1)
U = 1500/40= 37,5
По таблице 1 выбираем передаточное отношение редуктора 40. Это передаточное отношение имеют редукторы 1Ц2У, РМ, РЦД, Ц2, 1Ц3У, Ц3У…(Н), Ц3Н
2) Определим коэффициент режима работы (формула 4)
Креж= 1,0 х 1,0 х 1,2 х 1,0 х 1,0 = 1,2
3) Расчетный крутящий момент на выходном валу редуктора (формула 2)
Трасч = 1800 х 1,2 = 2160 Нхм
4) Расчетная радиальная консольная нагрузка (формула 6)
Fвых.расч = 5000 х 1,2 = 6000 Н
5) Исходя из соблюдения условия формулы 7,8, наиболее эффективно использование в данном приводе редуктора 1Ц2У-200-40-12 со следующими характеристиками: Тном = 2500 Нхм; Fном = 12500 Н.
